Bosch Akku-Winkelschleifer GWS 18V-8, 2 x Akku GBA 18V 5.0Ah mit L-BOXX 136
362,99 €
inkl. MwSt.
Für eine größere Ansicht das Produktbild anklicken.
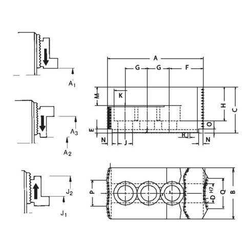
Kurzbeschreibung: --- Technische Merkmale: --- Einsatzbereiche: --- Vorteile: --- Weitere Infos: Umkehr-Aufsatzbacken, Größe 250/315, 3-Backen-Satz, gehärtet, Spitzverzahnung 90°, Werkstoff 16MnCr5
EAN/GTIN: 4019208015040
Röhm GmbH
Heinrich-Röhm Str.50, 89567 Sontheim, DE
[email protected], 07325/160
591,99 €